GN22-10系列户内高压隔离开关,是户内安装,供高压设备在有电压而无负载的情况下接通、切断和转换线路之用。符合GB1985-2004《高压隔离开关和接地开关》的要求。
a.周围空气温度:上限+40℃,下限-25℃ ;
b 海拔:不超过1000m;
c.相对湿度:日平均不大于95%,月平均不大于90%;
d.空气污秽程度按GB5582规定为lV级;
e.地震烈度不超过8度;
f.安装场所:没有火灾,易燃,易爆.严重污秽,化学腐蚀及剧烈振动场所。
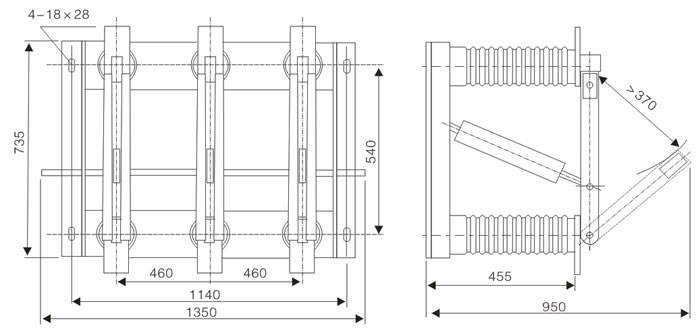
GN27-40.5型户内高压隔离开关是一种新型产品。适用于额定电压40.5KV交流50Hz的电力系统中,在有电压无负载情况下分、合电路之用,是替代老产品而设计生产的换代产品。可与高压开关柜配套,亦可单独使用。配用CS6-2操作机构。均采用加强绝缘设计,可满足II级污染场所条件下使用。
设计科学、合理、结构新颖;多触点,旋转式接触,自清扫能力好,提高散热能力;接触点在两个面内,操作力矩小,接触压力大,易调整;采用大爬距,加强绝缘能力、耐受电压均满足最高要求;在转轴上加装轴承,使用寿命提高,操作轻便。
该系列隔离开关为垂直转动闸刀式三相共底结构。断口侧静触头设计成摆动式多触片触头,具有单片触头接触压力小、磨损低、散热面积大、操作力矩小等优点,同时彩用大爬距支柱绝缘子和拉杆绝缘子、具有高绝缘性能和高机械强度。为满足需求,设计有平装型、穿墙型、带接地刀等型式。该系列隔离开关可以水平、垂直或倾斜安装。
a.周围空气温度:上限+40℃,下限-25℃ ;
b 海拔:不超过1000m;
c.相对湿度:日平均不大于95%,月平均不大于90%;
d.空气污秽程度按GB5582规定为lV级;
e.地震烈度不超过8度;
f.安装场所:没有火灾,易燃,易爆.严重污秽,化学腐蚀及剧烈振动场所。